很多人都在Q群猜测我的日IP,还有很多都在问我QQ云营销的销量,我自己都感觉我不知道如何回答,面对非常熟悉的朋友说假话吧不合适,说真话吧感觉有点违背了自己的隐身,好吧,今天给大家小小的炫耀一下,顺带介绍一下我的推广与营销的策略,先秀一张我那虚假权重图(再次申明,我没那么无聊去刷指数)。

我的推广策略
SEO引流:SEO引流我就不多说了,大家可以看到,我的网站运行了一年之久,目前通过SEO来的流量大概在300左右,非常不可靠的数据,换哪个人都无法接受一年的时间才换来日IP300,当然我也无法接受。想学习SEO引流的可以可继续关注我的博文。

推广引流:在推广引流方面最主要获得流量的还是投稿被转载,在以前我非常痛恨哪些转载我文章的人,现在回头想想,每天被转载也并非坏事,至少被转载后我的流量也跟着上来了,包括我现在,也会经常到A5、站长之家等门户站点投稿引流,至于朋友在说为何我的文章没有投稿到卢松松的博客上,我只能说,本博文太垃圾,不会拐弯抹角的写,只会用最简单的方法告诉你答案。
QQ微信:QQ与微信是目前最大的交友平台,微信号称推广利器,不知道为什么,太多朋友居然没有利用到这一点,至于我嘛,我一直在QQ与微信上分享我那垃圾文章。

其他推广:当然其他推广我做的并不是很多,稍微带一点微博、其他博客等,虽然说做的不多,但不代表不要做,说不定哪一天你的一篇文章在新浪博客上头条也会带来大量IP,也说不定你那一句话弄上了头条也可以给你红一次,对于其他我只能说不大力,不放弃。
小结:大家可能觉得奇怪,简简单单的几个小事情,居然可以引来不可思议的流量,我倒是觉得,看起来非常简单,做到极致的人却没有多少个。
我的营销策略
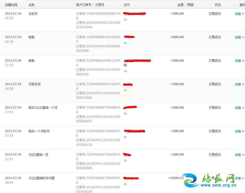
最近有很多人觉得奇怪,为何我开始卖软件了,我觉得靠广告赚钱真不是个正事儿,为了生计,我不得不走向商业化的路线,做出一个艰难的决定出售QQ云软件,今天顺带给大家再来点干货,我是如何把我的软件吹出来的,下面图为我软件半天的销量。

先天优势
你的先天优势是什么?我的先天优势就是能够把访问我网站的用户QQ全部抓取到,当然,不是每一个我都会加QQ的,相信加了部分人的QQ,部分人已经察觉到了,这就是我们的先天优势,对于这一点我并不是用来推广,利用自己的先天优势抓住精准客户营销是非常重要的。当然,你的先天优势可以是QQ好友比较多,也可以是粉丝比较多,看起来不起眼的粉丝,合理的利用可能效果不一般。
比质量不比价格
你是否每天都会遇到有人在询价后不买呢,那你不如试着比一比质量吧,很多朋友就说,同样是软件比什么质量,如果说同样是质量,我附赠推广方法、或者跟着客户,直到客户真正的赚钱后,我才放下他们让他们独立去使用软件呢?这算不算一个重点优势,用户在使用你的软件无非就是考虑是否能赚钱,如果真能让他们赚钱了呢?
说话技巧
记得我显示一个朋友在给我推荐一款免费全自动备份数据库和网站模板的程序的时候,每天都会和我说:“你网站安全问题怎么解决,我们公司可以帮你备份数据等等话题。”我废话了半个月,我没理她,每天都会问我,最后他只说了一句话,我用了他们的程序。“多备份是一个全自动定时备份数据库和网站模板的程序,免费使用”。在看下面这张图客户说的吧。

王婆不吹瓜,谁帮你吹?
相信大家都听过王婆卖瓜自卖自夸这样的词语吧,个人觉得王婆卖瓜不自卖自夸谁夸?靠用户夸?用户真能赚钱还有时间帮你来夸这个?引来竞争对手?好吧,那就自卖自夸吧,我每天安排客服,把交易量支付宝拍照发到QQ空间、微博等多处,这不是在炫耀,我只是想让那些想买又在考虑买的人自然而然的来找你买软件,我每天都可以接到一些想买又在犹豫的人下定决定购买的人。
广告真的是用来带来直接销量么?
不知道有没有人在大型网站上投入过广告,投入广告的主要目的是什么,我在投入广告的时候主要目的并不是广告位能够给我带来多少IP,能够给我多少订单,我们拿卢松松顶部广告位来说吧,不吹牛的说,卢松松主站LOGO旁边的广告价格一个月不低于1800,看他产品的销量在看他广告位挂的时间就可以看出,这笔账是划不来的。那么他们为何还可以一次性投入几个月的时间呢?其实很简单,他们的广告一来是可以给自己带来少量的订单,二来是可以告诉用户,你的产品得到某某名人的支持,直接相当于一个代言的作用。
总结:无论是推广和营销,不可缺少的一点就是吹,怎么吹呢,当然,不是要你吹一些不可能的事儿,必须吹出你产品的核心竞争点,哪怕是一件普通衣服,都可以吹出这件衣服的风格、款式、设计师灵感等。





